Competishun Header

Report Issue

JEE Advance 2020
paper 1
Question
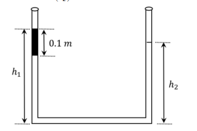
An open-ended U-tube of uniform cross-sectional area contains water (density $10^3 \mathrm{~kg} \mathrm{~m}^{-3}$ ). Initially the water level stands at 0.29 m from the bottom in each arm. Kerosene oil (a water-immiscible liquid) of density $800 \mathrm{~kg} \mathrm{~m}^{-3}$ is added to the left arm until its length is 0.1 m , as shown in the schematic figure below. The ratio $\left(\frac{h_1}{h_2}\right)$ of the heights of the liquid in the two arms is-
Question Image
Select the correct option:
A
$\frac{15}{14}$
B
$\frac{35}{33}$
C
$\frac{7}{6}$
D
$\frac{5}{4}$
✓ Correct! Well done.
✗ Incorrect. Try again or view the solution.
Solution
Sol. $$ \begin{aligned} h_1 & +h_2=0.29 \times 2+0.1 \\ h_1 & +h_2=0.68 \\ \Rightarrow & P_0+\rho_k g(0.1)+\rho_w g\left(h_1-0.1\right)\left[\rho_k=\text { density of kerosene } \& \rho_w=\text { density of water }\right] \\ & -\rho_w g h_2=P_0 \\ \Rightarrow & \rho_k g(0.1)+\rho_w g h_1-\rho_w g \times(0.1) \\ & =\rho_w g h_2 \\ \Rightarrow & 800 \times 10 \times 0.1+1000 \times 10 \times h_1 \\ & -1000 \times 10 \times 0.1=1000 \times 10 \times h_2 \\ \Rightarrow & 10000\left(h_1-h_2\right)=200 \\ \Rightarrow & h_1-h_2=0.02 \\ \Rightarrow & h_1=0.35 \\ \Rightarrow & h_2=0.33 \end{aligned} $$ So, $\frac{\mathrm{h}_1}{\mathrm{~h}_2}=\frac{35}{33}$
Question Tags
JEE Advance
Physics
Easy
Start Preparing for JEE with Competishun
Filters 0
JEE Main
JEE Advance
Easy
Medium
Hard
Showing 18 questions
QJEE Advance 20202020
A stationary tuning fork is in resonance with an air column in a pipe. If the tuning fork is moved...
JEE AdvancePhysicsEasy
View Solution
QJEE Advance 20202020
Consider one mole of helium gas enclosed in a container at initial pressure $P_1$ and volume $V_1$. It expands isothermally...
JEE AdvancePhysicsEasy
View Solution
QJEE Advance 20202020
One end of a spring of negligible unstretched length and spring constant k is fixed at the origin $(0,0)$. A...
JEE AdvancePhysicsEasy
View Solution
QJEE Advance 20202020
When water is filled carefully in a glass, one can fill it to a height $h$ above the rim of...
JEE AdvancePhysicsEasy
View Solution
QJEE Advance 20202020
Put a uniform meter scale horizontally on your extended index fingers with the left one at 0.00 cm and the...
JEE AdvancePhysicsEasy
View Solution
QJEE Advance 20202020
As shown schematically in the figure, two vessels contain water solutions (at temperature $T$ ) of potassium permanganate $\left(\mathrm{KMnO}_4\right)$ of...
JEE AdvancePhysicsEasy
View Solution
QJEE Advance 20202020
Shown in the figure is a semicircular metallic strip that has thickness $t$ and resistivity $\rho$. Its inner radius is...
JEE AdvancePhysicsEasy
View Solution
QJEE Advance 20202020
A uniform electric field, $\vec{E}=-400 \sqrt{3} \hat{y} \mathrm{NC}^{-1}$ is applied in a region. A charged particle of mass m carrying...
JEE AdvancePhysicsEasy
View Solution
QJEE Advance 20202020
Sometimes it is convenient to construct a system of units so that all quantities can be expressed in terms of...
JEE AdvancePhysicsEasy
View Solution
QJEE Advance 20202020
The filament of a light bulb has surface area $64 \mathrm{~mm}^2$. The filament can be considered as a black body...
JEE AdvancePhysicsEasy
View Solution
QJEE Advance 20202020
A particle of mass m moves in circular orbits with potential energy $\mathrm{V}(\mathrm{r})=F r$, where F is a positive constant...
JEE AdvancePhysicsEasy
View Solution
QJEE Advance 20202020
An open-ended U-tube of uniform cross-sectional area contains water (density $10^3 \mathrm{~kg} \mathrm{~m}^{-3}$ ). Initially the water level stands at...
JEE AdvancePhysicsEasy
View Solution
QJEE Advance2018
For every twice differentiable function $f: R \rightarrow[-2,2]$ with $(f(0))^2+\left(f^{\prime}(0)\right)^2=85$, which of the following statement(s) is (are) TRUE ?
JEE AdvanceMathematicsEasy
View Solution
QJEE Advance 20202020
A parallel beam of light strikes a piece of transparent glass having cross section as shown in the figure below....
JEE AdvancePhysicsEasy
View Solution
QJEE Advance 20202020
Therefore relative displacement (with respect to centre of roller) is $(75-50) \mathrm{cm}=25 \mathrm{~cm}$. A circular coil of radius R and...
JEE AdvancePhysicsEasy
View Solution
QJEE Advance 2020 2020
A small roller of diameter 20 cm has an axle of diameter 10 cm (see figure below on the left)....
JEE AdvancePhysicsEasy
View Solution
QJEE Advance2021
The pair(s) of complexes wherein both exhibit tetrahedral geometry is(are) (Note: py = pyridine Given: Atomic numbers of $...
JEE AdvanceChemistryEasy
View Solution
QJEE Advance 20202020
A light disc made of aluminium (a nonmagnetic material) is kept horizontally and is free to rotate about its axis...
JEE AdvancePhysicsEasy
View Solution